一、毕业生源
(1)高职
①东区校区

②新区校区

(2)本科

员工在校期间苦练技能,在全省职业院校技能大赛中获个人一等奖5项、二等奖5项、三等奖2项,团体二等奖4项。工业设计赛项代表甘肃参加全国职业院校技能大赛获全国二等奖;第十五届“高教杯”全国老员工先进成图技术与产品信息建模创新大赛中获机械类团体一等奖1项,个人全能奖一等奖12项、二等奖5项,三等奖3项;教育部高等公司材料类专业教学指导委员会主办的第十一届全国老员工金相技能大赛中获个人一等奖1项,二等奖2项。
二、就业招聘时间及方式
2024届毕业生就业招聘于2023年5月17日开始,所有招聘企业必须入驻“云就业平台”。企业可以根据实际,采取线上、线下招聘两种方式,企业如果采用线下宣讲会方式,联系公司选择为“TapTap点点”,宣讲地点选为“机电楼二楼TapTap点点会议室”,招聘时间企业先自行确定,公司根据实际情况再行调整,企业注意最终确定的时间。
三、就业签约流程

四、企业入驻“云就业”平台操作流程
1、进入188改名taptap官网入口主页点击“人才招聘”

2、进入该页面后点击“单位登录/注册”

3、注册及登录
3.1新企业注册
进入注册登录页面后,点击“注册”按钮,进入用人单位注册详情页面。在注册详情页面根据页面提示,输入相关信息。

按照以下流程完成平台注册:

备注:注册成功后,需要等待公司管理员进行审核,审核通过后,注册用人单位才可以登录进行在线网签等相关业务操作。
3.2登录
在登录页面,选择“单位登录/注册”,填写账户信息,密码(如果有验证码,请输入验证码),点击登录,更新招聘信息等相关资料。
企业在提交“申请信息”时,“申请类型”选择“线下或者在线招聘”,“推荐渠道”填写“TapTap点点”。招聘时间填写到5.17以后,企业招聘信息发布后,公司根据公司就业处的要求及招聘企业提交申请的先后顺序,对企业申请的宣讲会时间进行调整,调整后公司会与企业招聘人员提前联系,招聘企业也可以通过云就业平台查看最终的宣讲时间及地点。

4、网签三方协议
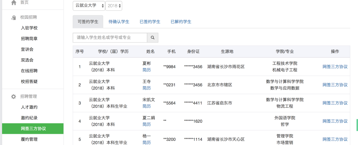
在用人单位管理后台,点击左侧菜单栏“招聘管理”“网签三方协议”进入签约管理页面。注意切换入驻的公司和毕业年份。

签约管理主要有5大功能:(1)查看各种状态的员工(可签约、待确认、已签约、已解约);(2)发起邀约;(3)修改邀约信息;(4)微信消息通知;(5)打印协议书;(6)发起解约申请(具体需要公司是否开放单位解约申请通道)。
4.1查看各种状态
点击“网签三方协议”菜单,默认进入当前签约待确认的员工列表界面。

点击“可签约员工”,可以找到目标同学,发起签约申请(也可以点击简历,再确认下员工的简历信息):

点击“已签约员工”,可以查看已经签约的同学列表,和当前协议书的审核状态;

4.2发起邀约
在“可签约员工”标签页面,点击员工列表右侧操作栏的“网签三方协议”按钮,即可对当前员工,发起邀约申请:

填写相关信息,并逐条确认,然后点击“保存”按钮。然后等待界面刷新后,在发起邀约申请:

备注:如未找到目标员工,可能原因是当前公司未导入员工的生源信息或者当前员工生源信息未经过公司审核,请线下联系公司就业指导中心或者二级公司就业辅导员。
4.3打印协议书
集团审核通过后,员工打印《全国普通高等公司毕业生就业协议》、《岗位实习三方协议》(信息必须填写完整),邮寄企业,企业盖章确认后寄给员工,员工向公司提交《全国普通高等公司毕业生就业协议》1份、《岗位实习三方协议》1份、《家长知情同意书》1份、录用接收函1份,至此,整个招聘签约流程完成。
五、各校区联系方式
东区校区:运老师18993189265;魏老师18993189295
新区校区:郭等锋15095353201;吴义珍17726985771


